KI M5 150 07 040
ITP P/N:
KIM515007040
11
Passend zu Zeiss: 000000-1165-629
Passend zu Zeiss: 000000-1165-629
KI M5 150 07 040
ITP P/N:
KIM515007040
133,00 €*
Sofort verfügbar, Versandfertig 1-3 Tage
Scheibentaster; Grundkörper: Titan; Schaft: Titan; Kugel: Stahl
Bei diesen Modellen handelt es sich um Taster mit einem monolithischen Grundkörper aus Titan und einer Scheibe aus rostfreiem Stahl. Diese Taster werden häufig zur Messung von Werkstücken aus Werkstoffen mit geringer Härte wie Aluminium, Kunststoffen oder unlegierten Stählen eingesetzt.
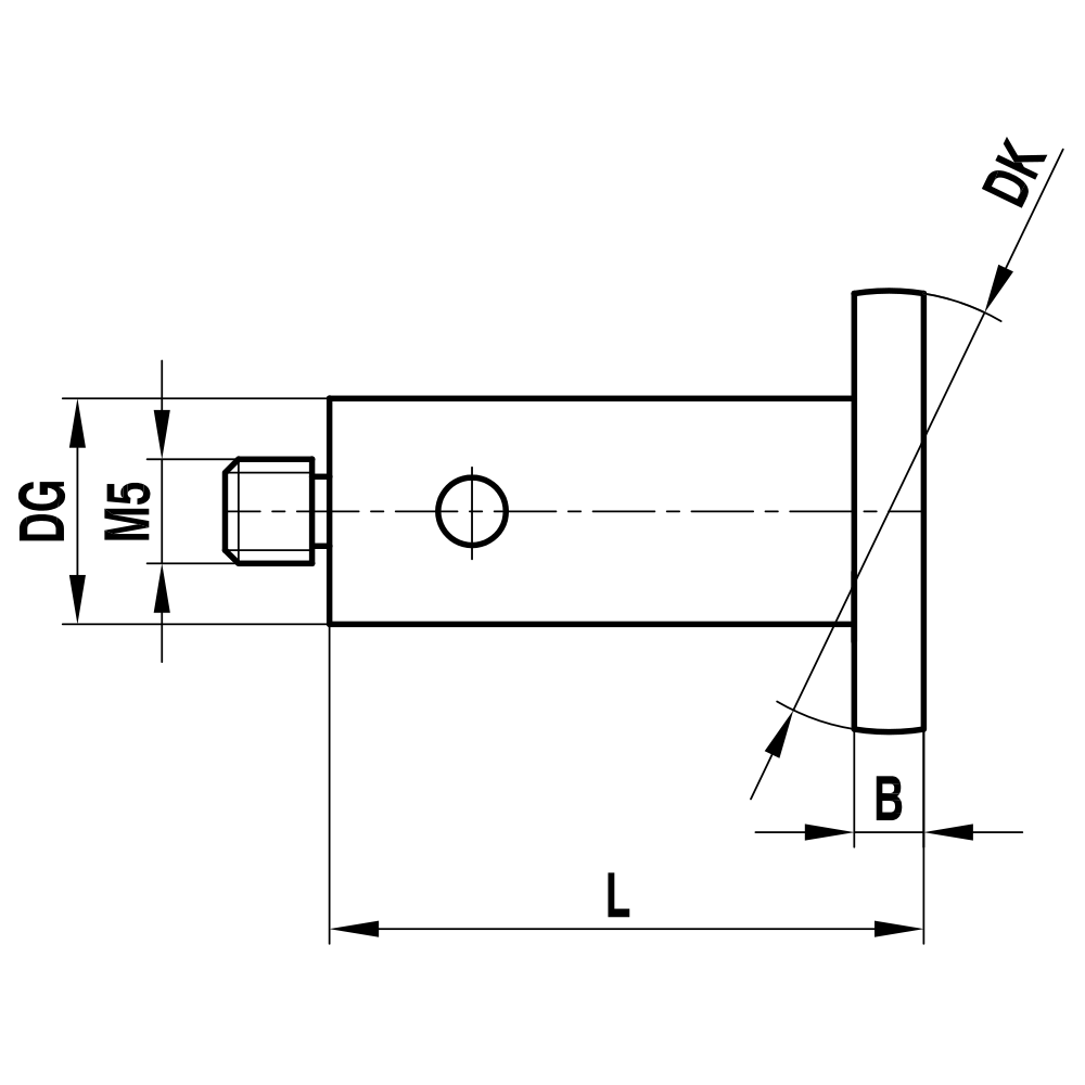
| Gewindegröße: | M5 |
|---|---|
| DK: | 15.0 |
| L: | 40.0 |
| DG: | 7.0 |
| B: | 1.0 |
| Grundkörper Material: | Titan |
| Kugelmaterial: | Stahl |
| Gewicht: | 5.7 |
| Kompatibel mit: | Renishaw, Zeiss |
| Zeiss Nr.: | 000000-1165-629 |
| Renishaw-Nr.: | A-5555-0124 |